5月29日,由杭州傲風電競科技有限公司牽頭起草的《電子競技桌》(T/ZFA 11-2023)團體標準經浙江省家具行業協會批準后正式發布,該標準將于2023年6月1日起正式實施。這也是全國首個與電子競技桌相關的產品標準。
一、《電子競技桌》制定背景
2003年,中國國家體育總局將電子競技納入正式開展的體育項目起,電子競技一直作為一種體育項目成為中國體育學者的研究主題。2019年,中央政府明確提出將電子競技產業納入體育產業統計范圍。近年來受國家相關政策進一步寬松影響,游戲玩家的普遍關注,以及對賽事的推廣與制度的完善,使得中國電競發展進入飛速發展階段。2022年,我國電競產業收入已達到1445.03億元人民幣,電競用戶規模約4.88億人。
作為近年來興起的電子競技運動的配套桌子,電子競技桌的出現,能夠減少玩家因長時間的單一姿勢產生的健康問題,雖然發展歷程較短,但勢頭迅猛,特別是在中國、美國、歐盟等地呈現飛速增長的趨勢,但市場上缺乏電子競技桌的產品標準。隨著電子競技細分市場的發展,制訂與電子競技桌有關的標準迫在眉睫。
二、《電子競技桌》制定原則
1、科學協調性
由杭州傲風電競科技有限公司牽頭組建的標準起草小組查閱了國內外有關文獻和研究,結合了電子競技桌的產品特點,吸取了電子競技俱樂部和職業選手的意見,掌握了大量的數據和資料,基于國內電子競技桌的發展現狀,在充分認識了標準對電子競技桌產品可持續發展的重要性的前提下編制。
2、先進性
該文件是國內首次制訂電子競技桌的團體標準,填補了行業空白。在標準制訂過程中,標準起草小組查閱了國內外相關的法律法規、標準資料、科研論文;并在制訂過程中多次與同行進行咨詢和研討,確保了標準中試驗方法和技術指標的先進性。
3、可適用性
該文件的制訂充分考慮了電子競技參賽者、俱樂部、普通玩家的使用需求,標準中的技術指標和試驗方法已驗證,標準內容具有可操作性,確保標準要求可以有效適用于我國現有電子競技桌產品。
三、《電子競技桌》實施意義
《電子競技桌》(T/ZFA 11-2023)規定了電子競技桌的產品分類、技術要求、試驗方法、檢驗規則、標志、使用說明、包裝、運輸和貯存等方面的內容,適用于電子競技場館、游戲廳或家庭從事電子競技活動的單人專用桌。

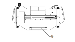
單人用電子競技桌示意圖
標引序號說明:
1——無線充;
2——水杯架;
3——鍵盤托;
4——主機托;
5——氛圍燈;
6——電腦增高架;
7——手控器;
8——耳機架;
9——集線器。

雙人用電子競技桌示意圖
標引序號說明:
1——水杯架;
2——鍵盤托;
3——主機托;
4——氛圍燈;
5——電腦增高架;
6——耳機架;
7——手控器;
8——集線器。
《電子競技桌》作為全國首個電子競技桌的產品標準,將有效規范電競桌產品市場,為生產制造者提供了可依據的標準,幫助消費者挑選到質量高、品質好的電競桌產品,促進電競家具細分領域的發展。
四、牽頭單位介紹——杭州傲風電競科技有限公司
傲風品牌發展歷程
AutoFull傲風,專業電競外設裝備品牌,擁有電競椅、電競桌、電競艙等產品系,連續多年LPL、KPL頂級職業賽事、頭部職業戰隊RNG等的官方指定品牌,連續6年榮登電競椅行業影響力第一品牌;堅持職業電競裝備的標準研發產品,打造集專業電競、技術領先、潮酷時尚于一體的行業標桿裝備,將健康電競與極致游戲體驗,傳遞給全球每一位玩家。
傲風國家級標準實驗室
傲風擁有近百人研發隊伍按照國家級標準設立的實驗室于2022 年底落成投入使用;產品歷經上萬次的功能測試,不斷打磨產品工藝,進行功能、材質的創新,時刻保持科技領先優勢,領導行業創新風向標,為客戶需求提供無限供能。
作為電競椅行業領導品牌,傲風致力于為各大賽事提供最專業最舒適的電子競技外設體驗,也獲得眾多賽事活動舉辦方的青睞。目前已成為國內、國際千余場賽事官方合作伙伴,用職業聯賽標準嚴格打磨產品,為職業賽場提供專業的電競外設,包括:
· 2022/2021/2020/2016持續4年贊助頭部賽事LPL
· 2022穿越火線周年慶
· 2022王者榮耀全國大賽
· 2022夢幻西游全民PK賽
· 2021東亞電競錦標賽ECEA
· 2021完美世界誅仙嘉年華
· 2020WCAA世界電子競技大賽
· 2019CS:GO亞洲邀請賽預選賽
· 2019年OPL決戰平安京職業聯賽
· 2018PCPI、2017CS:GOMinor&MDL
· 2016WCA等頂級職業賽事
眾多頭部職業戰隊專用裝備品牌
傲風贊助了國內眾多頂級職業戰隊,與職業選手共創滿足高強度訓練的專業設備,合作過RNG、LGD、DRG、4AM、狼隊等近百余支頂級職業戰隊,不斷研發新技術、新功能應用于產品,為職業選手賦能,并且和享譽國際的知名戰隊Rogue達成戰略合作關系,成為四年間坐擁27個冠軍的Rogue電子競技俱樂部的電競椅官方合作伙伴,為Rogue旗下英雄聯盟、彩虹六號、AGO、火箭聯盟等多個項目戰隊提供設備支持。
眾多明星藝人體驗電競椅
知名影視IP首選電競椅
憑借品牌專業性與高知名度,傲風成為《全職高手》、《親愛的,熱愛的》、《移情高手》等眾多電競題材知名影視劇集的首選電競椅。
傲風連續多年被票選為最受玩家喜愛的電競椅品牌
·2022金麥獎品牌影響力獎
·2022金麥獎營銷獎--傲風M6奧特曼聯名款電競椅
·2022Bilibili Z100 UP主在用年度產品榜--傲風M6電競椅
·2022DoNews靈鋒獎優秀產品
·2022外設天下年度最佳電競桌椅套裝--傲風A4電競桌椅套裝
·2021 GEN-Z年度喜愛技術創想力品牌
·2021熱點科技年度創新設計獎
·2021電競品牌評選盛典年度最受歡迎外設品牌
·2021 PConline至臻科技獎年度科技創新--傲風機械大師PRO電競椅
·2020 Bilibili百大年輕人喜愛的中國產品
·2020中關村在線年度推薦產品
·2020年度新西蘭Big Boys Toys最佳合作伙伴獎項


